|
当前位置:首页> 行业资讯> 查看内容 |
工程造价市场化改革是基本建设领域的基础性改革,事关建设工程投资效益和质量安全。改革方向是使政府发布的统一计价依据从定价机制中逐步退出,建立市场询价、竞争定价的新机制。改革重点任务之一是取消最高投标限价按照定额编制的约束性规定,实现最高投标限价编制依据的多元化、价格水平的市场化。
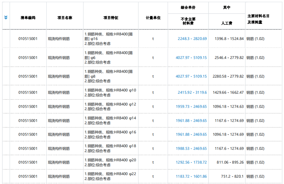
为支持市场主体脱离定额计价,提高市场化手段编制最高投标限价的便利性和可操作性,日前,青岛市住建局在官网每月发布房屋建筑与市政工程典型工程量清单项目综合单价、人工费等市场交易价格信息,为市场主体计价行为提供了市场化、动态化的新型参考依据。
造价改革启动以来,青岛市住建局积极探索,引入大数据、云计算等现代信息技术,对海量工程造价数据进行分析提炼,深度挖掘造价信息服务潜力,为改革精神落实落地蹚出了一条新路。一是畅通数据渠道,市住建局联合行政审批局,依托公共资源交易平台建立工程造价数据库。二是对原始数据进行标准化,提升分析结果的精准性,根据项目特征、经济参数将《建设工程工程量清单计价规范》中的清单项目进行二次细分,满足数据集中处理要求;三是完善动态发布机制,对公共资源交易平台滚动更新的数据进行实时智能分析,月发布典型清单项目价格信息近1500条。
该造价信息服务模式为全国首创,与定额计价模式以及传统的造价指标对比,一是信息来源更加真实有效,充分反映市场实际;二是发布更新及时,满足前期价格确定和后期价格调整的要求;三是颗粒度合理细化,能够直接应用于造价文件的编制和审核。对这一做法,住建部来我省开展调研并给予高度肯定,部《建设工作简报》进行了专题推广。


| 公司地址:济南市经十东路10567号 成城大厦A座 |
![]() 官方公众号 |
| 电话:0531-83191882 邮箱:[email protected] | |
| 网站声明 技术支持:999全讯白菜网 |
| Copyright © 2026 必威BETWAY西汉姆联 All Rights Reserved 鲁ICP备18014730号-1 |